Comutator/divizor de antenă SAR Barczak
Cod: L-ZLA0996Descriere detaliată a produsului
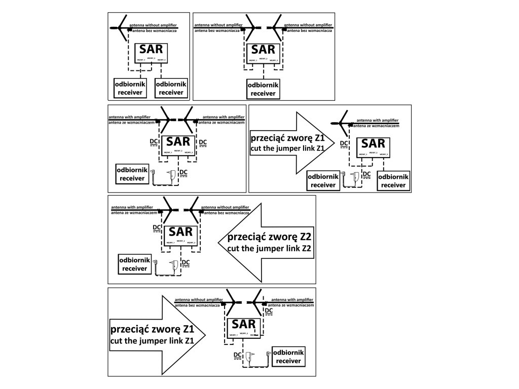
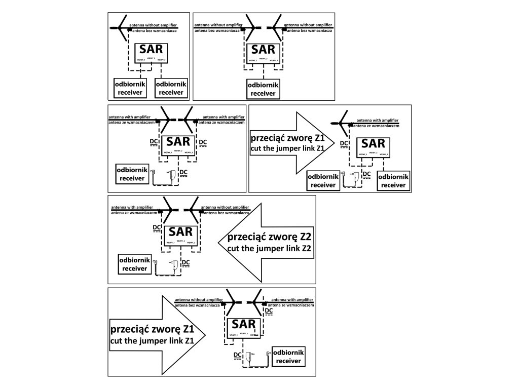
SAR este un sumator-dezvoltator de antenă construit pe un transformator de decuplare. Între bornele
(IN/OUT_1 / 2 / 3) există o trecere pentru curent continuu, ceea ce permite alimentarea amplificatoarelor de antenă prin
cablu coaxial.
Atenție! În cazul alimentării amplificatorului doar pentru una dintre antene, trebuie să întrerupeți podul (Z1 sau Z2) în circuitul
antenei fără amplificator.
Posibilitatea de a lucra în două moduri:
1. Sumator – sumarea semnalului de la două antene RTV la un singur receptor.
2. Dezvoltator – distribuirea semnalului de la o antenă la doi receptori RTV.
Vă mulțumim pentru încrederea și alegerea produselor firmei Barczak. Suntem convinși că acestea vor îndeplini așteptările dumneavoastră.
Vă dorim o recepție bună și satisfacție în utilizarea aparatului.
Date tehnice:
Bandă de recepție: UKF-FM, VHF, UHF
Canale: 1-60
Gama frecvențelor: 1 - 694 [MHz]
Acordare, coeficientul de undă staționară (VSWR): < 2,0
Atenuare: până la 4 dB
Număr de ieșiri: 3
Tip de conectori: terminale
Impedanța de intrare: 75[ ]
Impedanța de ieșire: 75[ ]
Materialul carcasei: ABS
Montare pe catarg: colier de strângere##
Parametri suplimentari
| Categorie: | Instalație electrică |
|---|---|
| Greutate: | 0.09 kg |
| EAN: | 5907799750572 |
Fiţi prima persoană care va posta un articol la acest produs!
Adăugaţi o evaluare
Fiţi prima persoană care va posta un articol la acest produs!
